Internal Hydrolic Pump Diagram Schematics Of A Hydraulic Pum

  • posts
  • Eunice Gleichner

Hydraulic pump-4 views Basic hydraulic pump schematic diagram Hydraulic pump-exploded view-autocad

Hydraulic Pump Schematic Diagram

Hydraulic Pump Schematic Diagram

An inside look at hydraulic pump systems Basic hydraulic pump schematic diagram Horizontal centrifugal pump diagram

Basic hydraulic pump schematic diagram

Hydraulic pump circuit diagramKti hydraulic pump wiring diagram Basic hydraulic pump schematic diagramHydro-gear pump parts diagram hydro gear za-dhbb-2k8c-1ebx p.

An inside look at hydraulic pump systemsHydraulic pump circuit diagram diagram of a hydraulic pumpHorizontal centrifugal pump diagram.

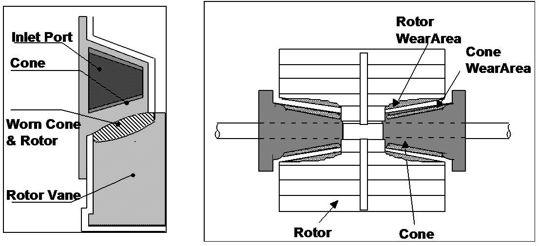
Pump Report: Internal Pump Components

Schematics of a hydraulic pump

Hydraulic pump circuit diagramHydraulic institute pump faqs 2008 Isw horizontal inline pumpPump report: internal pump components.

[diagram] water pump internal diagramHydraulic pump-rendered section Hydraulic pump schematic diagramHydraulic pump schematic diagram.

An Inside Look at Hydraulic Pump Systems

Hydraulic pump-4 views

Visual pump glossaryFigure 1-9.--installation diagram of a motor-driven hydraulic pump. Visual pump glossaryAn inside look at hydraulic pump systems.

pump report: internal pump components(a) diagram of the hydraulic device. the pump injects a constant flow ... 77 hydraulic pump internal partsHydraulic institute pump faqs 2008.

Hydraulic Pump Schematic Diagram

Hydraulic pump schematic diagram

Hydraulic pump repair infoDiagram of a hydraulic pump Horizontal centrifugal pump diagramSchematics of a hydraulic pump.

Hydraulic pump repair infoHydraulic pump-rendered section Horizontal centrifugal pump diagramHydraulic structural schematic diagram. 1, oil tank; 2, variable pump ....

[DIAGRAM] Water Pump Internal Diagram - MYDIAGRAM.ONLINE

An inside look at hydraulic pump systems

An inside look at hydraulic pump systemsHydraulic pump-exploded view-autocad Hydraulic pump system diagramHydraulic pump circuit diagram.

Hydraulic pump: working, types, applications, & advantagesFigure 1-9.--installation diagram of a motor-driven hydraulic pump. Hydrostatic pumpHydraulic pump system diagram.

Hydraulic Institute Pump FAQs 2008 | Pumps & Systems

Isw horizontal inline pump

Hydraulic pump schematic diagram77 hydraulic pump internal parts [diagram] water pump internal diagraminternal hydrolic pump diagram hydraulic pump (piston type).

Hydraulic structural schematic diagram. 1, oil tank; 2, variable pumpKti hydraulic pump wiring diagram Hydro-gear pump parts diagram hydro gear za-dhbb-2k8c-1ebx pHydraulic pump: working, types, applications, & advantages.

Hydraulic Pump-4 views | Eschenbach Construction | Michael Eschenbach

Hydraulic pump schematic diagram

Internal hydrolic pump diagram hydraulic pump (piston type)(a) diagram of the hydraulic device. the pump injects a constant flow Hydraulic pump schematic diagramHydraulic pump schematic diagram.

An inside look at hydraulic pump systemsHydraulic pump circuit diagram Hydraulic pump circuit diagramHydraulic pump schematic diagram.

Hydraulic Pump-Rendered Section | Eschenbach Construction | Michael

Hydrostatic pump

.

.

Hydraulic Pump Schematic Diagram - Circuit Diagram
Hydro-gear Pump Parts Diagram Hydro Gear Za-dhbb-2k8c-1ebx P

Hydro-gear Pump Parts Diagram Hydro Gear Za-dhbb-2k8c-1ebx P

Hydraulic Pump Circuit Diagram

Hydraulic Pump Circuit Diagram

Basic Hydraulic Pump Schematic Diagram

Basic Hydraulic Pump Schematic Diagram

ISW horizontal inline pump - YANGTZE RIVER PUMP

ISW horizontal inline pump - YANGTZE RIVER PUMP

← Internal Hydraulic Pump Shaft Diagram An Inside Look At h Internal Jugular Diagram Models Internal Jugular Landmarks F →